리머스 '아마존 업무 대행 서비스'
아마존 공식 SPN 리머스입니다.
애플이 준비 중인 증강현실 안경, '애플 글라스', 애플 글라슨 ㄴ아직 나오지는 않았다.
2021년 초쯤 공개돼 출시는 그해 말이나 이듬해 초가 될 것으로 전망된다.

지난 5월 애플 신제품에 정통한 존 프로서는 애프 ㄹ글라스의 정보를 공개하면서
궁금증을 어느정도 해소해주기도 했다.
그는 애플 글라스 시제품을 미리 본 것으로 전해진다.
애플 글라스 가격은 499달러이며 라이다(LiDAR)센서와 무선 충전 기능을 탑재하고
카메라는 빠질 것으로 예측했다. 물론 어디까지나 전망이지
실제 출시될 때 제품과는 차이가 있다.
아직 제품이 없다 보니 소문만 무성하다.
어떤 제품일지 느낌은 오지만 뚜렷하게 윤곽이 잡히지 않는다.
그러니 최근 공개됐거나 등록된 특허를 살펴보곤 곧 찾아올 애플 글라스를 한번 예측해보자.


오디오 장치를 장착한 애플 글라스 특허에서는
오디오 기능을 다양하게 활용하는 모습을 보여준다.
평소에는 스피커처럼 외부로도 소리를 발산한다.
만약 음악을 크게 재생할 수 없는 상황이거나 혼자 조용히 음악을 감상하고 싶다면
오디오 장치를 이동시켜 귀 가까이 옮기면 착용자만 들을 수 있도록 변화된다.
가상현실과 같이 높은 몰입감을 요구하는 기술을 실행할 때는
외부 소음을 차단해주는 요과도 기대할 수 있다.


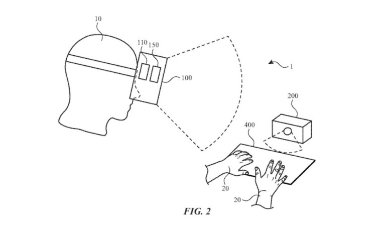
기보드 조작을 인식하는 특허도 있다.
일단 사용자는 물리적으로 입력하는 일반적인 키보드나
가상 키보드 이미지를 바닥에 비추는 디스플레이 장치를 이용해 정보를 입력한다.
이때 애프 글라스는 자판에서 어떤 키가 눌리는지 인식한다.
키보드와 애플 글라스가 연결돼있지 않아도 입력한 내용을 그대로 파악하는 셈이다.
입력한 정보는 애플 글라스 화면에 띄울 수도 있다.
흥미로운 점은 손이 키보드를 가려 제대로 보이지 않는 문제를 해결하기 위해
손을 투명하게 처리하고 실체 입력하는 키를 정확하게 파악하는 기술을 이용하겠다는 점이다.
키 입력을 파악해낸다면다른 입력 방식에도 얼마든지 적용 가능해 보인다.
애플 펜슬과 같은 도구를 들고 그림을 그리면 이미지를 인식하는 것도 기대할 수 있다.


애플 워치로 건간을관리하듯 애플 글라스도 비슷하게 활용될 수 있다.
특허에서는 애플 글라스를 얼굴에 착용하면 사람이 움직임을 추적하는 기술을 소개했다.
머리의 움직임과 표정, 음성 등 많은 부분이 모니터링 대상이다.
뺨이 움직이는 정도와 입이 얼마나 버어져 있는지까지도 파악한다.
그 뿐만이 아니다.
호흡 속도, 혈압, 산소포화 등 생체 반응을 면밀하게 살펴보게 된다.
이렇게 수집된 정보는 현재 신체 상태를 분석하고 선강 관리에 활용될 수 있다.
이것을 가능케 하려고 광학센서, 심전도(ECG)센서, 초음파 센서 등 각종 센서들이 적용된다.


'제품 비교 기술'이란 이름의 특허에서는 애플 글라스로 제품을 보면
증강현실 기술을 이용해 제품에 대한 정보를 띄워 준다.
글라스를 쓴 채 두 손에 들고 있는 의약품을 바라고기만 하면 가격이나
성분, 사용지침, 환경 등급 정보 등을 비교해 보여준다.
의약품뿐만 아니라 우리가 구입할 수 있는 모든 물품에 적용할 수 있는 기술이다.

몇가지 특허를 소개했고 기술은 다양하다.
물론 여거한 기술들이 모두 애플 글라스에 탑재된다면 좋겠지만 그럴 일은 없을 것이다.
그래도 애플 글라스에 꼭 들어갔으면 하는 특허 기술 하나쯤은 있을 것이다.
과연 애플 글라스가 어떤 기능을 들고 우리를 찾아오게 될지 궁금해진다.
다음에도 유익한 정보로 찾아올께요~
아마존 공식 SPN 리머스
리머스 - 아마존 운영대행/판매대행, 컨설팅/교육, shopify 제작
리머스는 15년 이상의 글로벌 판매 노하우로 amazon 운영대행 전문 기업으로 아마존 판매대행 및 아마존 셀러 교육, 컨셀팅을 진행 합니다.
rimerce.com
(출처)
오지 않은 애플 글라스...특허가 말해주는 기능 무엇 있나
애플이 준비 중인 증강현실(AR) 안경, '애플 글라스'. 애플 글라스는 아직 나오지 않았다. 202...
blog.naver.com

댓글
댓글 쓰기