리머스 '아마존 업무 대행 서비스'
아마존 공식 SPN 리머스입니다.
글로벌 전기차 회사 테슬라의 질주가 무섭다.
시가총액은 5000억달러(약555조원)을 넘으면서
워런 버핏이 이끄는 버크셔해서웨이를 제치고 시가총액 기준 미국 6위 기업에 올랐다.
주가는 올 한해만 600% 상승했다.

테슬라 다음으로 보여줄 기술이 기대되는 것은 당연하다.
겉으로 보여지는 혁신만큼이나 미래를 위해 준비하는 새로운 기술에도 관심이 간다.
근래 공개된 테슬라의 특허를 통해 그들이 생각하는 미래 전기차 기술을 만나보자.

스테어링 휠에 터치스크린이 들어간 특허(공개번호:20200039558)에서는
손의 움직임이나 간단한 터치만으로 차량 기능을 손쉽게 제어하는 기술에 대해 설명한다.
사용자는 핸들에서 손을 떼지 않고 스크린을 통해 차량의 속도를 제어하고
오토파일럿 기능을 켜고 끄게 된다.
음악이나 에어컨과 같은 기본적인 기능도 제어할 수 있다.
근접 센서가 탑재돼 사용자의 접근을 인식하고
즉정 명령을 강조 처리하는 기능도 들어간다.

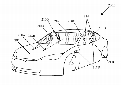
앞유리에 먼지가 많이 쌓이면 시야는 제약을 받는다.
테슬라는 특허(공개번호:US20190351873)에서 레이저를 이용해
앞유리 먼지를 제거하는 기술을 소개했다.
레이저는 먼지를 감지하도록 설계되며 레이저 펄스를 조절해
유리 표면은 소상히키지 않고 이물질만을 정확하게 제거한다.
특허명세서에서는 태양광 패널에 대해서도 언급하고 있어
차량 유리뿐만 아니라 다양한 곳에 적용 가능한 기술로 보인다.

에어백은 체격이나 성별에 따라 효과가 다르다고 알려졌다.
사고 시 팽창하는 에어백의 강한 힘에 아이가 다치거나 원활한 호흡을 방해하기도 한다.
차량 시트가 앉아있는 탑승자의 나이를 예측하는 특허
(공개번호:20190003877)는 그런 위험을 막는 기술이다.
시트에 내장된 센서는 탑승자의 자세,
다리 위치, 의복 등을 고려해 탑승자의 나이를 예측한다.
파악된 나이 정보는 차량 충돌이 발생했을 때
에어백이 작동하는 위치를 조정하는 데 활용된다.

안저을 위한 특허(공개번호:20190168710)는 또 있다.
이번에는 안전벨트와 관련된 기술이다.
안전벨트 착용 여부를 센서가 감지하는 것은 특별한 일이 아니다.
해당 특허는 더 세부적인 사항까지 놓치지 않으려 한다.
안전벨트를 제대로 메자 않는 경우를 잡아내는 것이다.
팔이 안전벨트 위에 놓이는 것과 같이 잘못 착용하고 있을 때를 인식하고
탑승자에게 경고를 보낸다.
다음에도 유익한 정보로 찾아올께요~
아마존 공식 SPN 리머스
리머스 - 아마존 운영대행/판매대행, 컨설팅/교육, shopify 제작
리머스는 15년 이상의 글로벌 판매 노하우로 amazon 운영대행 전문 기업으로 아마존 판매대행 및 아마존 셀러 교육, 컨셀팅을 진행 합니다.
rimerce.com
(출처)
https://blog.naver.com/tech-plus/222159564042
레이저 와이어·터치스크린 핸들...테슬라가 낸 특허, 이런 것까지?
글로벌 전기차 회사 테슬라의 질주가 무섭다. 시가총액은 5000억달러(약 555조원)을 넘어서면서 워런 버핏...
blog.naver.com

댓글
댓글 쓰기