리머스 '아마존 업무 대행 서비스'
넷쯔군입니다.
모바일 기기에서 화면이 차지하는 비중은 점점 높아졌다.
급기야 풀 스크린 디스플레이 스마트폰도 모습을 드러냈다.
중국 통신기기 제조사 ZTE에서는 세계 최초로 디스플레이 뒤에 카메라를 숨긴
언더디스플레이 스마트폰을 공개했다.
지문인식 센서와 스피커도 모두 디스플레이 밑으로 숨었다.
곧 판매도 시작한다.
언더디스플레이 설계가 자리 잡는다면 노치와 홈버튼과 같이
익숙한 스마트폰 디자인도 역사 속 유물이 된다.

애플도 언더디스플레이에 주목하고 있다.
노치 디자인을 향한 비판과 조롱도 그만 듣고 싶을 것이다.
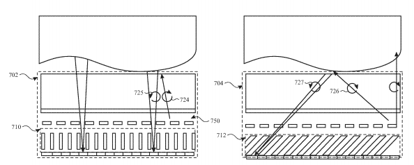
10일 공개된 애플의 특허(공개번호:US20200387684)에서는 디스플레이 뒤에
터치ID 센서를 배치하는 방법을 소개하고 있다.
기존 정전식 방식이 아닌 광학식 방식을 기반으로 한다.
빛을 방출하고 반사된 빛을 수신한 뒤 지문 정보와 비교해 사용자를 인식한다.

애플은 꾸준히 언더디스플레이 터치ID 특허를 출원해왔다.
특허를 보면 아이폰을 비롯해 다른 애플 기기에서도 디스플레이 아래
터치ID를 구현하는 방법론에 대해서도 다루고있다.
최근 애플은 아이폰12 구매자 대상 설문에서 페이스ID 만족도와
USB 케이블 사용 여부를 물었다.
주목할만한 것은 이때 터치ID 선호도를 묻는 항목도 있었다는 점이다.
이미 터치ID가 사라진 마당에 아이폰 구매자에게 이런 설문을 했다는 건
애플이 터치ID 적용 여부를 고심하고 있다는 흔적으로 보인다.
무리한 추측으로만 볼 수 없는 것이 올해 초에도 설문으로
아이폰을 구입했을 때 제공되는 전원 어댑터를 사용하는지 물어본 바가 있다.
설문 참가자는 당시 무슨 의도로 던진 질문인지 알지 못했을 것이다.
이후 출시된 아이폰에는 충전기와 이어폰이 제거된 상태로 판매됐다.
환경 보호를 위한 노력의 일환으로 해당 구성품을 포함하지 않았다는 설명까지 덧붙이면서...

아이폰의 탄생부터 함깨해온 홈버튼은 9년 동안 사용자들의 사랑을 받아온 요소다.
그러다 아이폰X 모델부터 사라졌다.
홈버튼이 있던 자리는 디스플레이로 덮였다.
홈버튼에서 터치ID로 수행하던 사용자 인증 기술도 페이스ID가 대신하게 됐다.
터치ID를 잘 사용하는 사람들에게는 진한 아쉬움을 남겼다.
애플의 행보를 보면 터치ID가 돌아올지도 모르겠다.
터치ID의 자리는 아마도 디스플레이 뒤가 유력하다.
얼마 전 출시한 아이패드 에어처럼 전원 버튼에 추가될 가능성도 열려있다.
마스크를 착용하는 날이 늘어나 터치 ID의 존재가 그리워진 요즘,
그 가능성이 높기를 바랄 뿐이다.
다음에도 유익한 정보로 찾아올꼐요
아마존 공식 SPN 리머스
http://rimerce.com
(출처)
https://blog.naver.com/tech-plus/222170201793
댓글
댓글 쓰기